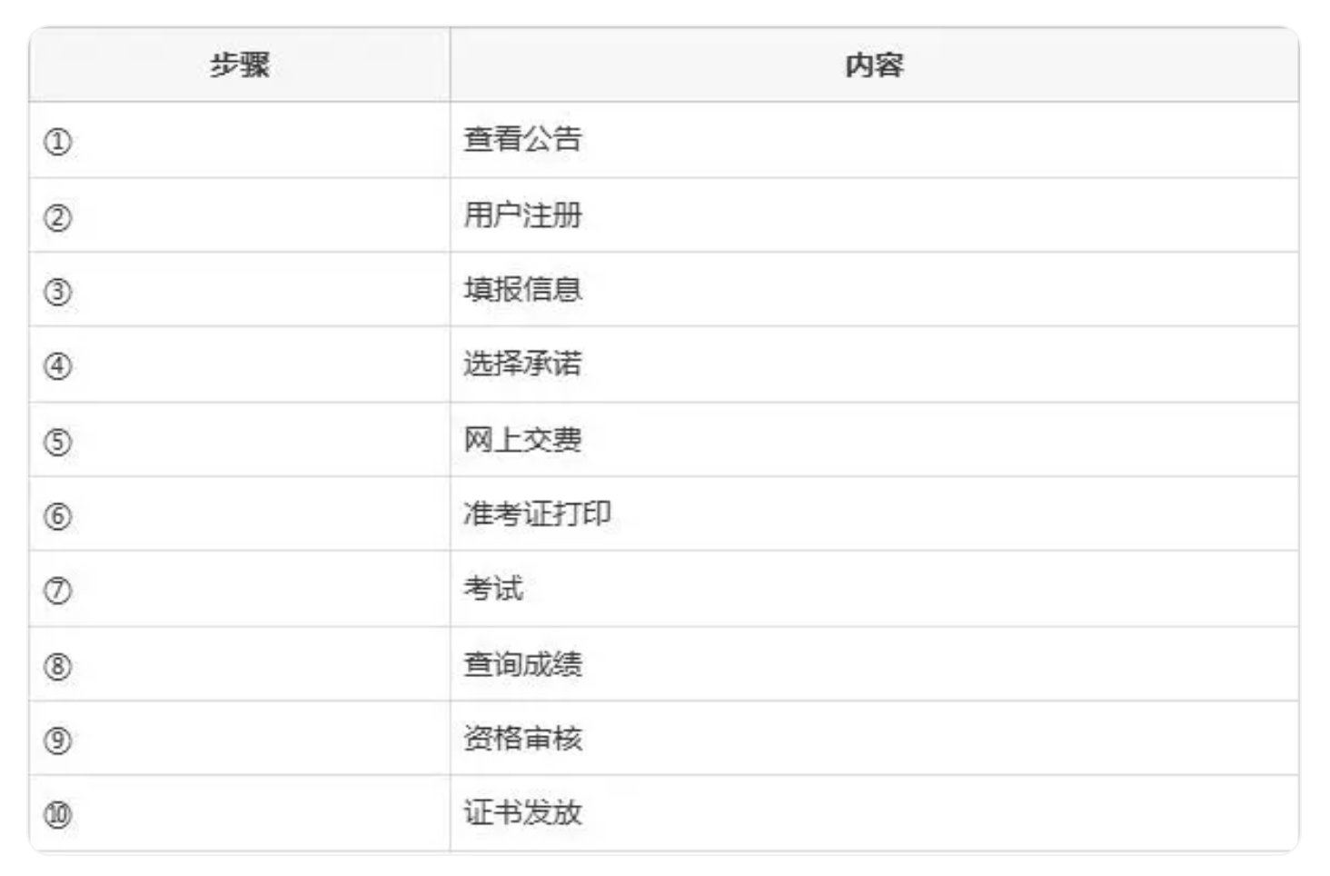
消防設施操作員需高中畢業或同等學力,并滿足年齡、職業能力、工作經驗等條件。報名需提交身份證、畢業證、工作證明等資料,流程包括注冊、填信息、交費、考試等。
在現代社會中,消防安全顯得尤為關鍵,而消防設施操作員作為維護消防安全的重要角色,其職業資格和學歷要求備受關注。那么,消防設施操作員報考需要什么學歷呢?
學歷要求概述
根據相關規定,消防設施操作員的基礎學歷要求為高中畢業或同等學力。這意味著,想要報考這一職業的人員,首先需要具備一定的文化基礎。高中畢業不僅是基本的學歷要求,更是在后續學習和職業發展中打下堅實的基礎。對于那些已經取得本職業或相關職業五級/初級工職業技能證明的人員,如果他們在取得證明后累計從事本職業或相關職業工作滿三年,他們將具備報考的資格。此外,擁有相關專業的技工院校或中等及以上職業院校、專科及以上普通高等學校的畢業證書,能夠為考生增加競爭優勢,尤其是應屆畢業生可以直接報考,無需等待工作經驗的積累。
年齡與工作經驗的關系
除了學歷要求外,消防設施操作員的年齡和工作經驗也是報考的重要條件。考生的年齡下限以《勞動法》規定的就業年齡為基礎,即年滿16周歲。同時,結合相關工作經歷年限進行核算。而年齡上限則以《勞動法》規定的退休年齡為準。因此,考生在選擇報考時,需要綜合考慮自身的年齡和工作經驗,以確保符合報考條件。具體來說,有以下幾種情況:
已取得初級消防設施操作員職業技能證明的人員,需要累計從事本職業或相關職業工作3年及以上。
未取得初級消防設施操作員職業技能證明的人員,需要累計從事本職業或相關職業工作5年及以上。
取得技工學校本專業或相關專業畢業證書的人員,或取得經評估論證、以中級技能為培養目標的中等及以上職業學校本專業或相關專業畢業證書的人員也可以報考。
職業能力特征
消防設施操作員不僅需要具備相應的學歷,還需具備一定的職業能力特征。這包括良好的觀察力、分析能力、判斷能力、表達能力和計算能力。此外,空間感、形體知覺、色覺、視覺、嗅覺和聽覺等感官功能也需正常,四肢健全且手指、手臂靈活,動作協調。這些能力特征對于消防設施操作員的日常工作至關重要,有助于提高工作效率和安全性。
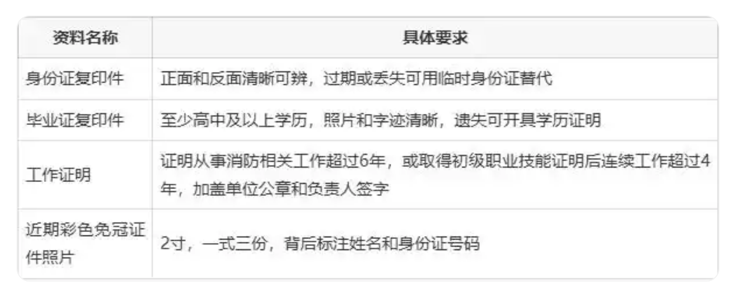
報名資料及流程
想要成為中級消防設施操作員,需要提交一些必要的報名資料。以下是詳細的報名資料及流程:


消防設施操作員的學歷要求主要是高中畢業或同等學力。除此之外,考生還需滿足年齡、職業能力特征及相關工作經驗等多方面的條件。


