查詢需要提供那些信息:姓名、身份證號、證書編號、輸入驗證碼即可查詢。
一、申請特種設備作業人員證應當具備以下基本條件:
1、年齡在18周歲以上;
2、身體健康并滿足申請從事的作業種類對身體的特殊要求;
3、有與申請特種設備作業種類相適應的文化程度;具體條件應當按照相關安全技術規范的規定執行。
申 請《特種設備作業人員證》的人員,應當首先向特種設備作業人員考試機構報名參加考試,并經考試合格頒發特種設備作業人員證書。目前特種設備作業人員證(質 監局特種作業人員證)的報考條件可根據個人具體情況進行適當放寬,而不完全依照以上的規定的報考條件,如需要考特種設備作業人員證書建議請電話咨詢。
二、特種設備作業人員證報考所需資料:
1、報考特種設備作業人員的身份證復印件2份,
2、最高學歷畢業證復印件2份;
3、一寸白底彩色照片5張;
4、填寫質監局特種設備作業人員考試申報表1份。
三、特種設備作業人員報名、培訓、考試時間
特種設備作業人員報名隨報隨學,考試每月一期,考試后15日左右取證。公司或企事業單位團體報名,培訓考試可以靈活安排,具體事宜請電話咨詢:普老師 13888492095
特種設備作業人員證發證單位及查詢網站:
經培訓考核合格人員,可取得國家質量技術監督局頒發的相應上崗操作證書,全國各地可復審,每四年復審一次,全國通用,在中國特種設備從業人員數據庫及公示系統(http://hr.cnse.gov.cn/cx.php#Step_5)及相關市質檢局網站查詢證書。
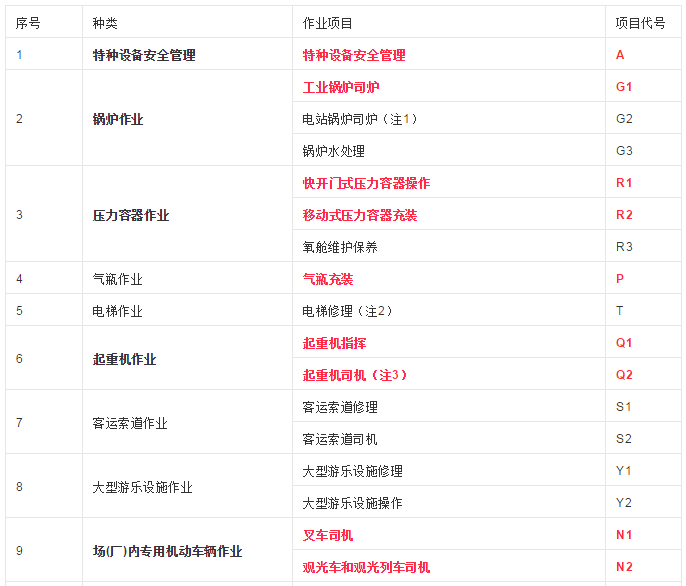
鍋爐、壓力容器、壓力管道、電梯、起重機械、客運索道、大型游樂設施、場(廠)內專用機動車輛的作業人員及其相關管理人員稱為特種設備作業人員。
從事特種設備作業的人員必須經過培訓考核合格取得《特種設備作業人員證》,方可從事相應的作業,各種特種設備作業人員證都要復審,復審年限各地區有所不同,正常是4年復審一次。
特種設備作業人員資格認定分類與項目

注1:資格認定范圍為300MW以下(不含300MW)的電站鍋爐司爐人員,300MW電站鍋爐司爐人員由使用單位按照電力行業規范自行進行技能培訓。
注2:電梯修理作業項目包括修理和維護保養作業。
注3:可根據報考人員的申請需求進行范圍限制,具體明確限制為:橋式起重機司機、門式起重機司機、塔式起重機司機、門座式起重機司機、纜索式起重機司機、流動式起重機司機、升降機司機。如“起重機司機(限橋門式起重機)”等。
注4:特種設備焊接作業人員代號按照《特種設備焊接操作人員考核規則》的規定執行。



